0、前言
我國生物質資源豐富,僅農作物秸桿年產量就達6億噸以上,是一種巨大的可再生能源。利用生物質發電的技術有幾種,適合于大規模利用的一般有直接燃燒發電和氣化發電等。但由于生物質能量密度低等特性,單燒生物質在處理大量燃料等方面存在著困難,影響其大型化,發電效率一般也不高。另一種是生物質與其它固體燃料混合一起燃燒,即所謂的共燃技術。利用已建循環流化床高效燃燒和低污染排放的優點摻燒生物質發電技術近年來得到了較好的應用,某公司于2005年底新上一套生物質摻燒系統,并于2006年年初調試成功并投用。現就生物質摻燒有關技術問題與大家探討。
1、生物質燃料的特性
北京國家煤炭質量監督檢驗中心近期對寶應周邊送檢的生物質樣品的化驗結果,見表1、表2所示:
表1 生物質工業分析及元素分析
|
收到基 |
麥秸 |
稻草 |
稻殼 |
樹枝 |
樹皮 |
花生殼 |
玉米秸稈 |
棉花桿 |
|
全水% |
7.8 |
11.6 |
9.4 |
12.3 |
19.8 |
10.5 |
9.5 |
13.4 |
|
灰分% |
5.7 |
14.10 |
13.32 |
1.98 |
5.16 |
3.15 |
4.01 |
3.20 |
|
揮發分% |
69.11 |
59.50 |
61.27 |
69.78 |
58.44 |
67.17 |
70.31 |
65.17 |
|
固定碳% |
17.38 |
14.80 |
16.01 |
15.94 |
16.76 |
19.18 |
16.18 |
18.23 |
|
地位發熱量% |
15.41 |
13.12 |
14.58 |
16.16 |
13.31 |
16.74 |
15.94 |
15.01 |
|
全硫% |
0.21 |
0.14 |
0.07 |
0.05 |
0.08 |
0.06 |
0.11 |
0.09 |
|
碳% |
41.09 |
35.78 |
38.18 |
43.35 |
37.92 |
44.47 |
42.86 |
41.08 |
|
氫% |
5.13 |
4.66 |
4.69 |
5.19 |
4.39 |
5.11 |
5.27 |
5.01 |
|
氮% |
0.44 |
0.94 |
0.447 |
0.61 |
0.78 |
0.71 |
0.76 |
0.62 |
|
氧% |
39.63 |
32.78 |
33.86 |
36.52 |
31.81 |
36.01 |
37.49 |
36.59 |
|
氯% |
1.043 |
0.581 |
0.189 |
0.046 |
0.026 |
0.091 |
0.187 |
0.253 |

從上表可以看出,生物質在組成和特性因種類、產地、氣候及生產過程等變化很大,但仍具有許多共性,主要體現在以下方面:
a)工業分析:送檢樣水分均較低,但實際堆放過程中受天氣及處理過程的影響較大,實際水分會較大。從我公司實際運行情況看,水分有時會在30%左右。生物質的灰分一般很低,除稻草及稻殼略高外,其余均在6%以下;生物質的揮發分含量較高,應用基揮發分一般在60~80%之間;固定碳一般在10~20%之間。
b)元素分析:生物質應用基含碳量一般在40%左右,氧量含量比較高,一般在35%左右,氫含量在5%左右,硫含量在0.05 -0.2之間。相對煤炭而言,生物質古硫量較低,因此生物質是低硫燃料,是一種低污染能源。
c)灰成分分析:據專家介紹,生物質灰成分中堿金屬及氯在燃燒過程中有引起受熱面結渣、積灰及腐蝕的傾向。
d)發熱量及堆積密度:生物質收到基低位發熱量一般在13 - 16MJ/kg之間,與設計煤種20. 31Mj/kg相比,發熱量低得多。此外生物質堆積密度較小,一般為125kg/m3左右,平均僅為煤的1/8。因此生物質的能量密度(即單位體積的發熱量)比煤低得多,約為煤的1/10。
e)燃燒特性:生物質本身揮發分很高,而循環流化床鍋爐內蓄熱量很大,溫度較高,因此生物質在循環流化床鍋爐內燃燒相當快。
2.循環流化床鍋爐共燃生物質的技術特點
2.1共燃生物質的實施技術
現役循環流化床鍋爐摻燒生物質方式有多種,技術難易程度不一,我公司已實踐的方式主要如下:
a)在干煤棚直接與煤混合,再一起利用上煤系統送人原煤倉,與燃煤一起送人爐膛燃燒。
b)利用氣力輸送將粉碎后的生物質噴人爐膛進行燃燒。
c)利用壓縮成型技術將生物質原料壓縮成塊狀或顆粒狀,然后與燃煤混合,送人原煤倉,與燃煤一起送入爐膛燃燒。
d)采用專門的破碎設備將生物質進行切割或粉碎,然后利用專門的輸送設備將生物質輸送到爐前某落煤管,并利用輸送風送入爐膛進行燃燒。
第一種方式相對簡單,無需對現有設備和系統進行改造,但由于生物質能量密度很低,鍋爐原煤倉一次性補完倉后,很快煤倉內燃煤會耗盡,又必須進行補倉。經試驗,當按10%重量比進行摻燒,上煤人員原一天只需補倉三次,摻燒生物質后一天需補倉六次,且補倉時間加長。此運行方式缺點主要有二,一是上煤時間加長,上煤設備長時間處于運行狀態,對于我公司單皮帶運行方式極不利,設備易出故障,嚴重時會影響全廠出力,二是此摻燒方式摻配不均,造成鍋爐運行工況極不穩定,運行參數不易控制。
第二種方式我公司做過嘗試,未能成功,主要原因出在:風機加料口設計不合理,所選風機出力不夠,風機壓頭偏小,管道偏細,風壓衰減很快,無法克服爐內壓力將料送入爐內。
第三種方式我公司進行多次考察及進行相關經濟性比較,結論如下:采用壓縮成型技術可以加大生物質摻燒量,可采用與煤一起摻配人爐,摻燒方式可簡單化,但壓縮技術設備投資較大,一套5t/h加工線投資將近150方元,且設備能耗較大,總容量達200KW,生產成本較高,經測算加工一噸生物質成本達30~40元。此方案投資成本及運行成本均較大,在目前無明顯優惠政策的前提下不易采用。
第四種方式需要安裝單獨的生物質制料及輸送系統,設備投資等費用顯著提高,但其可以提高生物質的摻燒量,上料比較穩定,對鍋爐運行工況影響不大,且運行成本不高,在當地生物質價格相對煤炭較低的情況下可使用。目前我公司所上系統即為此方式,并取得了空前的成功。
2.2共燃生物質的相關技術問題
2. 2.1生物質燃料的制備和儲存
由于生物質燃料具有低能量密度、部分生物質水分含量高且具有強烈的親水性以及纖維柔軟韌性材料等特性,因此對其運輸、儲存和制備影響較大。生物質的能量密度約為煤的1/10.這意味著當按熱量計共燒IO%生物質時,其體積和煤的體積相當;生物質是韌性纖維材料,不易破碎,但對循不流化床來講,只要將破碎至50mm以下即可摻燒。我公司選用BX216型鼓式削片機用來切削枝丫材、樹皮、硬質秸桿等,此類型削片機對切削枝丫材性能極佳,破碎效果好,出料粒度可控制在50mm之下,對切削樹皮性能受到樹皮特性影響,雖然能切削,但由于樹皮纖維韌性較大,切削后易成團,但根據實際摻燒情況,對輸送、燃燒基本無影響。由于循環流化床對燃料顆粒度要求控制在13mm以下,生物質破碎至50mm以下,摻燒對循環流床燃燒無任何不利影響。由于生物質具有強烈的親水性,生物質儲存必須建專有的儲存廠房及中轉廠房,目前我公司在廠區內新建一座800mz生物質專用儲存廠房,用來儲存、加工生物質原料,
2. 2.2生物質燃料的輸送
由于生物質原料體積膨松,堆積密度為125kg/m3左右,且原料含大量的粉塵,經討論輸送設備傾向于使用皮帶輸送或埋刮板輸送,并對這兩種運輸設備性能、價格等進行了比較,見表4
經綜合考慮,輸送設備以埋刮板輸送機為主。主要原因:刮板輸送機全密封輸送,輸送量較大,滿足衛生要求,安裝空間要求較小,最主要目的爐內煙氣反竄不會燒損設備。另為了滿足計量的需求,輸送系統第一條輸送機選用皮帶輸送機。設備具體選型如下:皮帶輸送機選用TD - 800mm,輸送量100 m
3/h,可變頻調速控制輸送量,并在皮帶裝有除鐵器,主刮板輸送機選用RMS50型,輸送量90 m
3/h,二臺爐前刮板輸送機選用RMS40型,輸送量為50 m
3/h。
2.2.3生物質人爐問題
人爐部分采用正壓稀相氣力輸送,物料由#1及#2刮板輸送機落料口落下,經過一道閘板門和一個膨脹節,由輸送風送人# 管管后播散人爐膛。并人爐落料管上裝有壓力傳感器、溫度傳感器,將此處的壓力溫度信號送入DCS系統,以便于運行監視控制。

采用氣體送料的目的有兩個,第一:防止爐內熱煙氣上竄使物料在刮板機內著火,起到密封作用;第二:防止物料在落料口和落煤管交接處棚料,起到協助輸送作用。
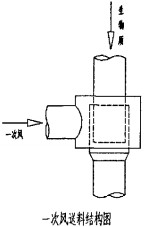
在調試期間,由于輸送風設計不合理,無法克服爐內正壓,煙氣反竄,生物質原料無法落人并反竄卡死刮板主動輪并引起跳閘。后參照FW公司循環流化床給煤點空氣促動器結構對輸送風結構進行完善,為保證輸送風足夠的壓頭,輸送風從一次風機出口引接,主管道直徑采用Ø219,在進入輸送風裝置前變徑為+108,提高了輸送風裝置的風量及風壓,防止了摻燒時高溫煙氣反竄,并有助于將燃料“推”入爐膛,詳細結構如右圖。通過不斷摸索調整,系統連續運行基本正常,無煙氣反竄,下料順暢,
2. 2.4結渣和積灰
與煤相比,生物質灰中堿性成分(特別是堿金屬K)含量很高,且主要以活性成分的方式存在,在火焰中易揮發出來而后凝結在受熱面上形成結渣和積灰。國外的應用經驗表明,草本生物質灰分中K和CL含量較高,當摻燒比例較大時,有引起鍋爐積灰及相應腐蝕的趨勢;燃燒木本生物質時一般不會引起積灰,這是因為這類生物質一般Ca含量較高而K和CL含量相對較低。
2. 2.5污染物排放
由于生物質的含硫量和含氮量較低,且循環流化床采用低溫燃燒技術,因此SO2和NO,的排放量亦較低。另由于我公司采用四電場靜電除塵,煙氣粉塵排放量也可控制在合格范圍之內。
2. 2.6腐蝕問題
生物質中氯和堿金屬含量比煤灰中高得多,它們在燃燒過程中揮發出來,在煙氣中生成氯化物而凝結在受熱面上,有引起受熱面金屬腐蝕的傾向。因此在摻燒生物質時,金屬腐蝕需加強關注,特別是停爐檢修時應對受熱面全面檢查,發現問題應采取相應的措施。
2.3摻燒比例
常用的摻燒比例有質量配比和熱量配比兩種。通常生物質的發熱量約為煤的一半,因此,熱量配比的數值約為質量配比的一半。摻燒比例是共燃生物質時最重要的技術參數。在實際應用中,該比例的確定需綜合考慮燃料特性、鍋爐特性等。根據國外經驗,熱量配比達10%時,共燃技術可充分發揮其技術優勢,可能出現的技術問題均在運行可控制的范圍內。因摻燒比例高所引起的設備投資和運行費用的增加也可由共燃的收益得到補償,對電廠的經濟性和安全性不會產生負面影響。目前我公司的摻燒比例可達30%(熱值比),但由于原料供應不上,實際日摻燒量只能達100噸左右,隨著生物質原料價格的調整,生物質原料量將不斷上漲。
3、結束語
生物質是低硫、低氮、具有良好的著火燃燒性能的燃料,并且為可再生資源。在與循環流化床共燃時技術相對簡單,投資費用和運行費用均較適中。摻燒量可以達到30%及以上(熱值比),運行各參數均在可控范圍之內。由于摻燒比例較大,可能會引起一些技術問題,主要表現在金屬堿腐蝕及氯腐蝕,通過加強每次檢修中的檢查并采取相關預防措施得以減緩。循環流化床鍋爐摻燒30%(熱值比)生物質是可能的,技術上是可行的,我公司已從實踐上予以證明。因此,循環流化床生物質共燃技術是適合我國國情的技術,值得在我國大規模推廣和應用。
三門峽富通新能源銷售生物質鍋爐、家用炊事爐灶以及生產生物質顆粒燃料的顆粒機、秸稈壓塊機、飼料顆粒機等機械設備。